TRANSAT CORP.
| Application Note: HIGH-TEMPERATURE MONITOR PROBES |
"AUTOMATIC ETCH CONTROL USING THE CEM-1000"
The standard CEM probe is suitable for etch temperatures up to about 80°C. This note describes adaptations to higher temperatures.
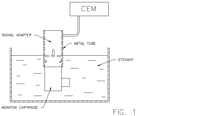
The standard probe is shown in Fig. 1. It consists of two parts, Signal Adapter and Monitor Cartridge. Its operating temperature is limited because the Signal Adapter housing is a metal tube that is partially immersed in the etchant, thereby providing a signal return path (cathode) to ground while at the same time exposing both the internal circuitry and the hands of the operator to the temperature of the etchant. This can become a problem at temperatures higher than 80°C.
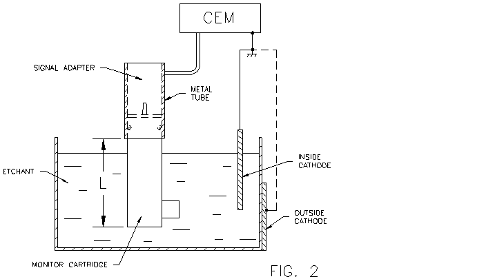
The problem can be overcome by extending the Monitor Probe such that the metal tube is no longer exposed to the etchant. Instead, a separate cathode is used, as described below.
The extended Monitor Cartridge is shown in Fig. 2. It has a length L = 17 cm. Shorter dimensions can be made upon request.
Two types of Monitor Cartridges are available:
Model MC-120 for use in etchants up to about 120°C
Model MC-180 for use in Sodium Hydroxide at about 180°C
Fig. 2 shows that the separate cathode can be either inside or outside the etchant. The inside cathode can, for example, be a rod, piece, or strip of etch-resistant metal (SS, Nickel, Monel), or of a Teflon-coated metal. The external cathode can be a metal foil on the outside of the tank wall, provided the capacitance between foil and etchant is on the order of the monitor-blank capacitance or larger. The cathode is connected to the ground lug at the CEM back panel. Use a low-resistance wire (approx. 1 mm diameter copper) and make the connection as short as possible. If you have questions, ask for Transat application advice.
The Model MC-180 Monitor Cartridge is made of Virgin Teflon and includes special elastomer
seals made for etching Mesa blanks in Sodium Hydroxide at about 180 centigrade. The unit has been tested for long-time
exposure in the etchant, but it has not yet been tested in an etch control application. For reasons explained in
the original Application Note, the monitor blanks for this case should be 8-mm diameter mesa blanks, pre-etched
from about 20-28 MHz to about 35 MHz. Due to a lack of such monitor blanks, experimental runs have not been performed
at Transat. Customers interested in evaluating the High Temperature Probe and CEM-1000 should contact Transat.
