World Map TRANSAT CORP.
ALC Polishing Pad Data Sheet

Description

Transat’s publication, "Crystal Polishing" from the 1994 Piezoelectric Devices Conference Proceedings, describes the use of Transat’s Automatic Lap Controller (ALC) for frequency monitoring during the polishing of crystal blanks. The paper describes the use of various soft, semi-soft, and hard polish pads and their relative merits. Hard pads are increasingly popular because they produce a polish with better plan-parallel surfaces than soft pads.

Normally, hard pads consist of various plastic materials. Since they are non-conductive and relatively thick (typically about 3mm or more), they block the signals of the ALC.

To overcome this limitation, Transat has developed a hard plastic pad containing an admixture of graphite that magnifies the pad’s conductance for high frequency signals and allows ALC frequency control. The pad provides long wear and an excellent polished surface.

Pad dimension are 184mm O.D. , 61mm I.D., and 6.2mm thickness. This size accommodates most pin laps, and 3B lap machines. It will be necessary for the user to adjust the pad diameter to fit a particular lap/polish setup.

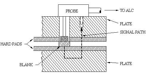
A diagram showing the pad installation and signal flow is shown below.

Tips/Guidelines for Pad Installation

  1. Mount the polish pads on your polish plates using a conductive adhesive.

  2. When the adhesive has set, extend (drill) the slurry feed holes of your upper polish plate through the pad.

  3. Turn the pads on a lathe to the diameter of the plates; bevel the pad edges slightly to break the sharp edge

  4. Install an electrode in the upper polish plate per instructions in the ALC Operating Manual, with the electrode flush with the pad surface.

  5. Flat-lap the pad surfaces to for optimum flatness the same way you condition normal lap/polish plates.

  6. Condition the pads with a fine sandpaper (such as "400 grit" sandpaper with a maximum grit size of 50 micron) as follows: mount the sandpaper (approx. 40x40mm) on a flat surface; place the pad on the sandpaper and move it in a "figure 8" motion until the pad surface has the same roughness as the sandpaper.

  7. Thoroughly clean and rinse the pad surfaces.

(Note: steps 6 & 7 need to be repeated when the pad surface becomes smooth after repeated polish operations)

Carrier Preparation

The material and preparation (pre-lapping) of the carriers is very important, especially for thickness below 50 microns. If you have problems with consistent preparation of carriers, Transat can refer you to reliable sources for carriers and pre-mixed slurries.

Slurry

The ALC Polish Pad is being used with a number of different slurry mixes for various polishing applications. A generally recommended slurry is cerium oxide with about a 1 micron particle size and a pH of about 7.

Ordering Information
Part# 50015593: PAD-61/184

Back to Lapping & Polishing
Product Information · Company Background · Sales & Service Representatives · Directions to Transat · Transat News · Home

31000 Bainbridge Road Solon, Ohio 44139 USA · Tel: (440) 248-4440 · Fax: (440) 248-0272 · E-mail info@transatcorp.com