World Map Sansei Showa Co., Ltd.
SMD PI Network Test Jigs
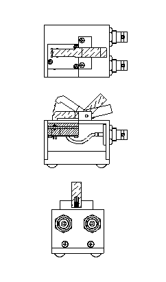
TFP-7 Data Sheet

Description

Transat’s Model TFP-7 Pi Network Test Jigs are designed for measuring quartz crystals in SMD packages. The model TFP-7L is identical to the TFP-7 with the exception that it contains a socket which allows insertion of a Load Capacitor in series with the crystal. Different versions of the TFP-7 with varying contact pin spacing exist for various SMD packages. For a particular TFP-7 version (with a given pin spacing) various "Locator Plates" may exist to accommodate different SMD packages with different external dimensions. The second page of this data sheet shows the various TFP-7 versions and their associated Locator Plates.

Load Capacitors

Transat offers both Fixed and Variable Capacitors for use with the TFP-7L PI Networks. A separate data sheet is available for the Variable Capacitors.

Leaded Crystal Packages

Transat also offers PI Networks (Models TFP-6,TFP-6L, TFP-8, & TFP-8L) for crystals in leaded packages. A separate data sheet is available for these models.

IEC 444 - PI Network Specifications

A separate Application note which describes Transat PI Networks and IEC 444 compliance is available upon request.

Specifications
Dimensions (L/W/H in cm)8.1x 5.0x 6.4
Contact MethodPogo Pin
Connector TypeBNC
SMD Package TypeVarious
CL Socket (TFP-6L & TFP-8L only)accepts 0.015-0.020" lead dia.

Ordering Information
SMD Package VersionP/N TFP-7P/N TFP-7L
7 x 5 mm0001360000013601
6 x 3.5mm0001384700013848
5 x 3.2mm0001406000014061
11.8 x 5.5mm0001407600014077
11.4 x 5.0mm0001417600014177
12.9 x 4.7mm0001418400014185
7.8 x 3.4mm0001530800015309
7.9 x 7.9mm0001544500015446
11.5 x 4.7mm0001586600015867

The following page lists all available locator plates. Each TFP-7/TFP-7L includes all possible locator plates which belong to that particular version (contact pin spacing). For example, TFP-7 P/N 00013600 is supplied with 4 locator plates (50015304-1. 50015304-2, 50015304-3, 50015304-4).

AccessoriesP/N
CL Socket Short (HC-45)01015090
Fixed Value CL Insert - 12pF01015094-12
18pF01015094-18
27pF01015094-27
Variable CL Insert 5.0-7.0pF01012758-6
7.0-9.0pF01012758-8
8.7-10.7pF01012758-10
10.5-12.5pF01012758-11.5
12.5-14.5pF01012758-13.5
13.0-17.0pF01012758-15
16.0-20.0pF01012758-18
19.0-23.0pF01012758-21
23.0-27.0pF01012758-25
27.0-32.0pF01012758-27

Back to PI Networks
Product Information · Company Background · Sales & Service Representatives · Directions to SSC·  SSC News · Home

31000 Bainbridge Road Solon, Ohio 44139 USA · Tel: (440) 248-4440 · Fax: (440) 248-0272 · E-mail info@sanseishowa.com